菲尼克斯電氣用于多種安全功能的安全繼電器
安全繼電器可靠監控設備或系統的功能安全。
如需急停、光柵、安全門或雙手控制等安全功能,
可選擇成熟的PSRclassic標準型或寬度僅6 mm和12 mm的PSRmini超薄型。
或者,也可將兩種型號組合,提高應用的安全性。
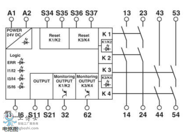
安全繼電器 - PSR-SCP-24DC/MXF2/4X1/2X2/B - 2903254
用于急停和安全門的多功能安全繼電器,
滿足SIL 3,4類/PL e級的要求,
自動或手動激活,4個常開觸點,
3種安全功能,2個關機等級,
插拔式螺釘接線端子
結構圖:
